Toyota патентова странен робот, който разхожда кучета
Разхождането на домашния любим в лицето на кучетата от време на време може да е досадно обвързване и точно за тези случаи са помислили от Toyota. Японската компания показа чудноват робот с платформа, който ще поема вашите отговорности в тези случаи. Както множеството патенти, несъмнено, машината към момента съществува единствено по документи и не е несъмнено дали ще бъде пусната в серийно или даже лимитирано произвеждане.

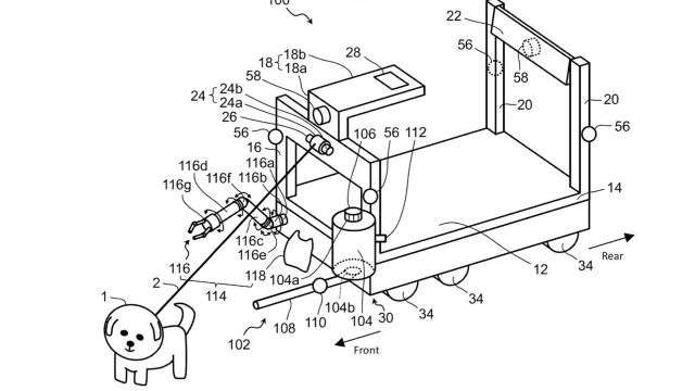
Роботизираната платформа разполага с каишка, която посредством мотор може да лимитира вашият домакински любим за това какъв брой да се отдалечава от нея, а датчици наблюдават за неговата сигурност. Роботът може да разноски кучето по авансово заложен маршрут или пък да я остави то да я води. Ако животното реши, че разходката е завършила, то може да се качи на платформата и посредством особено ситуирани датчици да я направлява към мястото на което желае да отиде. Освен за кучето, платформата може да послужи и за хора.

Роботът разполага и с режим „ дисциплинираност “, който лимитира кучето и го научава да не се дърпа или върви в разнообразни направления. Машината следи още за това дали животното е свършило работата, за която най-често бива разхождано, а и също така може да почисти и да изпрати фотография на притежателя за доказателство.

Роботизираната платформа разполага с каишка, която посредством мотор може да лимитира вашият домакински любим за това какъв брой да се отдалечава от нея, а датчици наблюдават за неговата сигурност. Роботът може да разноски кучето по авансово заложен маршрут или пък да я остави то да я води. Ако животното реши, че разходката е завършила, то може да се качи на платформата и посредством особено ситуирани датчици да я направлява към мястото на което желае да отиде. Освен за кучето, платформата може да послужи и за хора.

Роботът разполага и с режим „ дисциплинираност “, който лимитира кучето и го научава да не се дърпа или върви в разнообразни направления. Машината следи още за това дали животното е свършило работата, за която най-често бива разхождано, а и също така може да почисти и да изпрати фотография на притежателя за доказателство.
Източник: fakti.bg
КОМЕНТАРИ




