Rivian ще вгражда сешоари в пикапите си
Наскоро от Rivian започнаха доставките на първите бройки от своите електрически пикапи и въпреки те към този момент да добиха известност с някои забавни екстри и функционалности, компанията не счита да стопира до тук. Доказателство за това е патент, импортиран през миналото лято и утвърден от американските управляващи в края на миналата година.

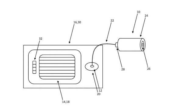
Документите и графиките разказват специфичен сешоар, който ще се включва в климатичната система на колата и може да бъде употребен, както вътре в нея посредством отворите за вентилация, по този начин и на избрани за това места в екстериора.

Макар патента да наподобява чудноват на пръв взор, той може да послужи на хората, които се занимават с водни спортове и да им помогне след каране на сърф или друга сходна активност.

Документите и графиките разказват специфичен сешоар, който ще се включва в климатичната система на колата и може да бъде употребен, както вътре в нея посредством отворите за вентилация, по този начин и на избрани за това места в екстериора.

Макар патента да наподобява чудноват на пръв взор, той може да послужи на хората, които се занимават с водни спортове и да им помогне след каране на сърф или друга сходна активност.
Източник: fakti.bg
КОМЕНТАРИ




