BMW патентова странен сгъваем волан
Когато стане дума за странни кормила, то от към година автоматизирано свързваме това с Tesla и по този начин нареченият “yoke” волан, който доближи до серийно произвеждане. Сега от BMW ще се опитат да сграбчен наградата за най-странен волан с нов патент, който явно ни приготвя за самостоятелното бъдеще.

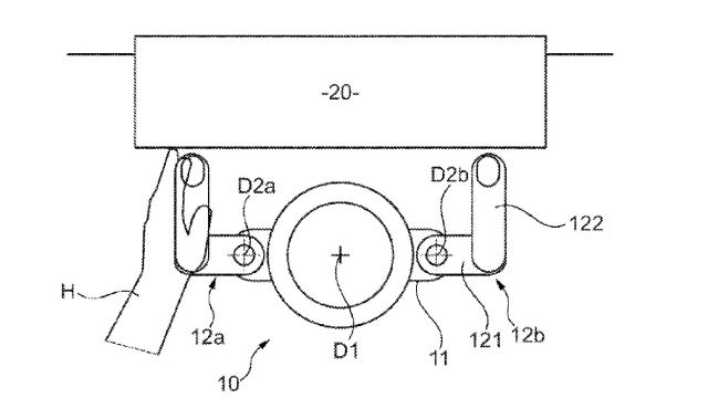
Сериозната поръчка на немска марка е наречена „ ръководеща ръкохватка “ и на процедура съставлява кръговиден детайл с две дръжки от двете страни, които могат да се сгъват в средата на кормилото.

Един от плюсовете, който от BMW акцентират за странното кормило е фактът, че дръжките постоянно остават прави, а въртеливото придвижване се реализира от кръглата част върху отвесните спици.

Сериозната поръчка на немска марка е наречена „ ръководеща ръкохватка “ и на процедура съставлява кръговиден детайл с две дръжки от двете страни, които могат да се сгъват в средата на кормилото.

Един от плюсовете, който от BMW акцентират за странното кормило е фактът, че дръжките постоянно остават прави, а въртеливото придвижване се реализира от кръглата част върху отвесните спици.
Източник: fakti.bg
КОМЕНТАРИ




