Apple обмисля смартфон с навиващ се дисплей, ето доказателство
Слухове за това, че Apple обмисля производството на смартфон с навиващ се дисплей витаят в интернет средите от няколко години, като според някои са просто рекламни слухове, а други ги смятат за осъществима истина. Изглежда, че от марката наистина работят над такъв проект, а доказателството е патент подаден от Apple през изминалия ден, споделят от BGR.
Снимки: USPTO
Няколко схеми представени в американското патентно ведомство показват какви точно са плановете на Apple и как ще работи смартфонът с навиващ се дисплей. От марката отбелязват, че този дизайн би бил значително по-добър от този на сгъваемите смартфони, поради липсата на панта в средата на дисплея.

Според това което виждаме от схемите, дисплеят на смартфона ще се навива в отделение в горната част на дисплея, като специална ролка, най-вероятно с мотор ще се грижи за това кога той да бъде разтеглян и кога прибиран. Въпреки, че най-вероятно от Apple имат ясна представа за това как ще работи технологията, то ще трябва да изчакаме още поне 3 години, докато я видим в серийно производство.
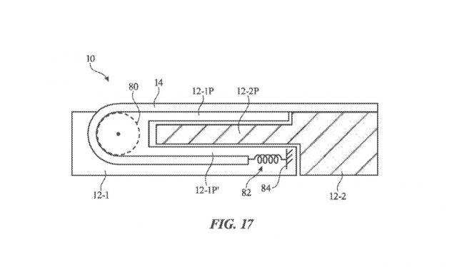
Снимки: USPTO

Няколко схеми представени в американското патентно ведомство показват какви точно са плановете на Apple и как ще работи смартфонът с навиващ се дисплей. От марката отбелязват, че този дизайн би бил значително по-добър от този на сгъваемите смартфони, поради липсата на панта в средата на дисплея.

Според това което виждаме от схемите, дисплеят на смартфона ще се навива в отделение в горната част на дисплея, като специална ролка, най-вероятно с мотор ще се грижи за това кога той да бъде разтеглян и кога прибиран. Въпреки, че най-вероятно от Apple имат ясна представа за това как ще работи технологията, то ще трябва да изчакаме още поне 3 години, докато я видим в серийно производство.
Източник: fakti.bg
КОМЕНТАРИ




