Какво знаем за проходимата кола с камера на DJI
Китайската компания DJI е известна най-много с висококачествените си дронове, които са подобаващи както за феновете фотографи, по този начин и при снимането на същински кино продукции.
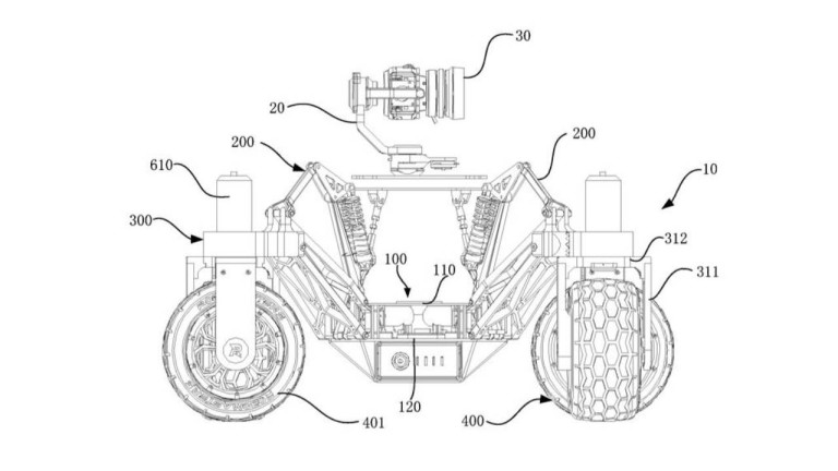
Много допустимо е обаче напълно скоро DJI да предложи на потребителите си нова джаджа под формата на високопроходима кола на отдалечено, оборудвана с всевъзможни екстри и несъмнено, камера.
Тази седмица компанията получи патент за нея, от който научаваме, че количката ще може да се върти към оста си, с помощта на въртящите се на 180 градуса колела.

Не излиза наяве с каква камера ще разполага тя, само че пък знаем, че камерата ще е преносима и ще може да се издига като перископ над колата.
Патентът разкрива още, че камерата ще печели от нови системи за стабилизация, които ще взаимодействат със системите на ръководство за оптимално гладки фрагменти, даже при неравномерен терен.
Въпреки че сега приказваме единствено за патент, възможностите той да се трансформира в същински артикул са много огромни.
В последните години главен проблем за продажбите на дронове са рестрикциите, които някои страна постановат върху използването им на избрани места.
Перфектният дрон за фенове
Страхотен микс от цена, качество и преносимост
Подобна количка с камера обаче би заобиколила тези ограничавания и би предоставила на почитателите на компанията опция за още повече креативност при основаването на фото и видео наличие.
Много допустимо е обаче напълно скоро DJI да предложи на потребителите си нова джаджа под формата на високопроходима кола на отдалечено, оборудвана с всевъзможни екстри и несъмнено, камера.
Тази седмица компанията получи патент за нея, от който научаваме, че количката ще може да се върти към оста си, с помощта на въртящите се на 180 градуса колела.

Не излиза наяве с каква камера ще разполага тя, само че пък знаем, че камерата ще е преносима и ще може да се издига като перископ над колата.
Патентът разкрива още, че камерата ще печели от нови системи за стабилизация, които ще взаимодействат със системите на ръководство за оптимално гладки фрагменти, даже при неравномерен терен.
Въпреки че сега приказваме единствено за патент, възможностите той да се трансформира в същински артикул са много огромни.
В последните години главен проблем за продажбите на дронове са рестрикциите, които някои страна постановат върху използването им на избрани места.
Перфектният дрон за фенове
Страхотен микс от цена, качество и преносимост
Подобна количка с камера обаче би заобиколила тези ограничавания и би предоставила на почитателите на компанията опция за още повече креативност при основаването на фото и видео наличие.
Източник: lifestyle.bg
КОМЕНТАРИ




