Ford ще предлага магнитни „легла“ за своите пикапи
Инженерите от Ford са подали патент за забавна функционалност обвързвана с товарното пространство на своите пикапи, която може да позволи провокиращ проблем, прочут от години на мнозина автомобилни производители и почитатели.

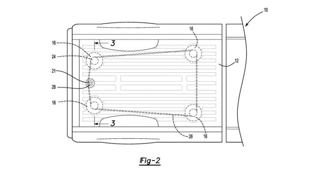
Става въпрос за проблем обвързван с товаренето на разнообразни принадлежности, такъми и други предмети, които се „ разхождат “ в товарната част на пикапа при шофиране, когато те не се укрепени вярно.

За да решат този проблем, от Ford са патентовали магнитно було за товарната част на своите пикапи, което има за цел да задържа стоманените предмети в избрани секции. Тези магнити са сложени на няколко места по продължението на задната част и могат да бъдат включвани или изключвани от интериора на пикапа.

Става въпрос за проблем обвързван с товаренето на разнообразни принадлежности, такъми и други предмети, които се „ разхождат “ в товарната част на пикапа при шофиране, когато те не се укрепени вярно.

За да решат този проблем, от Ford са патентовали магнитно було за товарната част на своите пикапи, което има за цел да задържа стоманените предмети в избрани секции. Тези магнити са сложени на няколко места по продължението на задната част и могат да бъдат включвани или изключвани от интериора на пикапа.
Източник: fakti.bg
КОМЕНТАРИ




