Apple готви неразрушим телефон
Apple неотдавна показа тазгодишните си смарт телефон модели, за които разгласи, че са направени от най-здравото стъкло, употребявано в миналото в iPhone.
Всичко за iPhone Xs, iPhone Xs Max, iPhone Xr и Apple Watch 4
Какво ново ни предлага Apple с тазгодишните си модели
Няма по какъв начин да сме впечатлени от това изказване, тъй като го чуваме при всяко оповестяване, а, в случай че сме били притежатели на някои от iPhone 6 моделите, ще знаем, че даже алуминиевият корпус се огъва елементарно.
Тим Кук и компания наподобява са решили да работят старателно за основаването на телефон, който да издържи и в най-безмилостната среда.
През март 2017 година компанията е вкарала в патентния офис искане за вписване на технология, която би направила джаджите на Apple нечупливи.

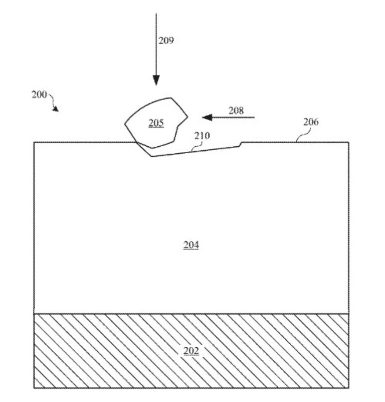
Патентът планува външният пласт от покритието да е от няколко пласта, които включват железен субстрат. Целият този пласт ще е пълен към 0.5-3 микрометъра, а този под него - към 8-30 микрометъра.
Тим Кук желае всички да сме с iPhone
Цените на iPhone са по-достъпни от преди
Външната обвивка може би ще е керамична или карбонова - здрава, колкото елмаз. Това би било и неповторим маркетингов трик за компанията.

Както виждаме от патентните изображения, технологията би могла да се приложи и в часовниците, таблетите и компютрите на Apple.

Патентът не е гаранция, че дадената концепция ще стигне до поточната линия и ще бъде осъществена. Но сме склонни да имаме вяра, че компанията фактически готви сходна технология, поради историята с огъващите се и елементарно чупливи iPhone модели.
Всичко за iPhone Xs, iPhone Xs Max, iPhone Xr и Apple Watch 4
Какво ново ни предлага Apple с тазгодишните си модели
Няма по какъв начин да сме впечатлени от това изказване, тъй като го чуваме при всяко оповестяване, а, в случай че сме били притежатели на някои от iPhone 6 моделите, ще знаем, че даже алуминиевият корпус се огъва елементарно.
Тим Кук и компания наподобява са решили да работят старателно за основаването на телефон, който да издържи и в най-безмилостната среда.
През март 2017 година компанията е вкарала в патентния офис искане за вписване на технология, която би направила джаджите на Apple нечупливи.

Патентът планува външният пласт от покритието да е от няколко пласта, които включват железен субстрат. Целият този пласт ще е пълен към 0.5-3 микрометъра, а този под него - към 8-30 микрометъра.
Тим Кук желае всички да сме с iPhone
Цените на iPhone са по-достъпни от преди
Външната обвивка може би ще е керамична или карбонова - здрава, колкото елмаз. Това би било и неповторим маркетингов трик за компанията.

Както виждаме от патентните изображения, технологията би могла да се приложи и в часовниците, таблетите и компютрите на Apple.

Патентът не е гаранция, че дадената концепция ще стигне до поточната линия и ще бъде осъществена. Но сме склонни да имаме вяра, че компанията фактически готви сходна технология, поради историята с огъващите се и елементарно чупливи iPhone модели.
Източник: lifestyle.bg
КОМЕНТАРИ




